
HK-112- Utility Trailer Suspension Kit
HK-112- Utility Trailer Suspension Kit
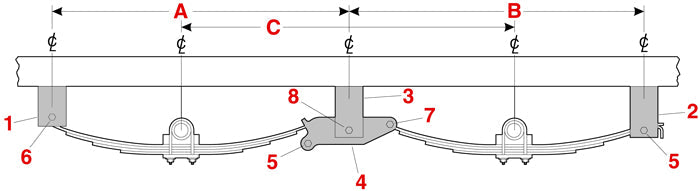
SPECIFICATIONS
(2)3 3/4" Tall front hangers, (2)3 3/8" Tall center hangers, (2)5 1/6" Tall rear hangers, (2)12" Equalizers, Mounting Hardware
SPECIFICATIONS
(2)3 3/4" Tall front hangers, (2)3 3/8" Tall center hangers, (2)5 1/6" Tall rear hangers, (2)12" Equalizers, Mounting Hardware